Anbieter zum Thema
Erweiterter Temperatureinsatzbereich
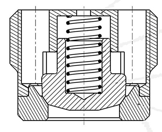
Spezifische sicherheitstechnische Aspekte standen bei einer weiteren Detailneuerung im Mittelpunkt. Obwohl ein Federbruch in Anwendungen nur unter extremen Belastungen vorkommen kann, wird das daraus resultierende Risiko nun deutlich minimiert: In allen neuen Rückschlagventilen mit federbelasteter Ventilkugel von Bucher Hydraulics sind diese Federn nun gekammert, so dass sie selbst bei einem Federbruch innerhalb des Ventils verbleiben.
Human Machine Interface
Maschinenbedienung der nächsten Generation
Bei der Anhebung des Standards bezogen die Entwickler auch die Dichtungstechnik mit ein. Bei den kleineren Rückschlagventilen von NG04 bis NG16 werden die Ventile eingeschraubt und über eine Schneidkante metallisch abgedichtet. Während zuvor angewandte Weichdichtungen noch auf Temperatur und Art des Mediums abgestimmt werden mussten und zuweilen Sonderlösungen erforderten, entfallen die Weichdichtungen bei den unteren Nenngrößen komplett. Damit erhöht sich das Spektrum der Einsatzmöglichkeiten, so dass Anwender die Standardausführung der neuen Rückschlagventile bei Temperaturen von -30° bis 120 °C installieren können. Die vorgegebene metallische Dichtung minimiert gleichzeitig das Ausfallrisiko des Ventils, da eine fehlerhafte Auswahl des Dichtmaterials ausgeschlossen ist.

Basierend auf den positiven Erfahrungen mit Rückschlagventilen NG04 bis NG16 (12 l/min bis 120 l/min) komplettierte Bucher Hydraulics nun die Baureihe um Ventile der Nenngrößen NG25 bis NG40 mit einem Durchfluss von 210l/min bis 540 l/min.
Die neue Generation hat Gewinde von G1/8" bis G3/4" und ist in der Bohrungsform 118° einsetzbar; bei den Gewinden G1" bis G 1 ½" sind die Ventile in der Bohrungsform 180° einsetzbar. Somit können dementsprechende bisherige Baureihen vollständig ausgetauscht werden. Durch die Nutzung derselben Einbau-Bohrungsform für Ventile, die in Einschraubrichtung öffnen (Ventilserie RKVG) bzw. umgedreht in Einschraubrichtung schließen, benötigen Anwender nur noch ein Werkzeug, was wiederum die Werkzeugkosten minimiert.
Erhöhte Verfügbarkeit
Robustheit, Betriebssicherheit und Schmutzunempfindlichkeit sind bei Rückschlagventilen bedeutende Kriterien. Zwar hat die kleine Komponente nur einen geringen Anteil an einem Steuerblock, wird aber permanent hoch beansprucht. Deshalb hängt die Verfügbarkeit der Maschinen und Fahrzeuge unmittelbar mit der Ausfallsicherheit des eingesetzten Rückschlagventils zusammen. Hierbei gewährleistet ein hoher Qualitätsstandard lange Lebensdauer und minimiert kostspielige und zeitaufwändige Reparaturen an meist schwer zugänglichen Stellen im System. Hochwertige Rückschlagventile zahlen sich in Bezug auf Total Cost of Ownership somit für Blockhersteller und Endanwender gleichermaßen aus.

Bucher Hydraulics setzt während der Entwicklungsphase jede Baureihe auf den Prüfstand und testet auf maximale Druckbelastung, das heißt, die Ventile werden einem Dauertest mit 1,5-fachem Durchfluss bei einem Druck von 350 bar unterzogen. Sie müssen 2 Millionen Zyklen mit Speichereinsatz standhalten, bevor sie freigegeben werden. Diese Prüfstandtests führen wiederum zu weiteren Erkenntnissen hinsichtlich Materialien oder Materialkombinationen. Darüber hinaus gilt bei Bucher Hydraulics die 100-Prozent-Kontrolle auf Dichtigkeit, bevor Ventile das Werk verlassen.
Die bis ins Detail durchdachte neue Baureihe von Rückschlagventilen beruht auf dem umfangreichen Produkt- und Applikationswissen, mit dem Bucher Hydraulics als zuverlässiger Partner für Rückschlagventile im Markt seit Jahrzehnten überzeugt. Spezialisiert auf Anwendungen mit hohem technischem Anspruch bietet das Unternehmen Lösungen für die unterschiedlichsten Ansprüche an Rückschlagventile. Neben innovativen Standardausführungen zählen dazu auch anwendungsoptimierte Ventile, bei denen in enger Zusammenarbeit mit dem Kunden spezifische, auf den Einsatzfall abgestimmte Lösungen, entwickelt werden.
Die Supportmöglichkeiten reichen bis hin zur Inbetriebnahme und Abstimmung der Maschine zusammen mit dem Kunden – immer unterstützt durch die weltweite Vertriebs- und Serviceorganisation des Bucher Konzerns. (qui)
(ID:44690860)